知財判例データベース 図面に基づいて登録特許の請求の範囲に技術構成を追加する訂正が請求の範囲の実質的変更ではないと判断した事例
基本情報
- 区分
- 特許
- 判断主体
- 大法院
- 当事者
- 原告 A社(特許権者) vs 被告 B社(審判請求人)
- 事件番号
- 2016フ830訂正無効(特)
- 言い渡し日
- 2018年04月12日
- 事件の経過
- 原審破棄差戻し
概要
特許発明の明細書には具体的な説明がなく図面にのみ図示された技術的特徴を特許登録後に特許請求の範囲に追加する訂正について、大法院は、特許請求の範囲を実質的に拡張又は変更する場合に該当するか否かは、特許請求の範囲自体の形式的な記載だけでなく、発明の詳細な説明を含めて明細書と図面全体から把握される特許請求の範囲の実質的な内容を対比して判断すべきであるとし、本件訂正は、その訂正前後において発明の目的や効果が変わらず、発明の詳細な説明と図面に記載されている内容をそのまま反映させたものに過ぎず、第三者に不測の損害を与えるおそれもないので、特許請求の範囲が実質的に変更される場合に該当しないと判断した。
事実関係
事件の経緯
発明の名称を「交換用伸縮継手漏水防止装置」とする登録特許に対し特許審判院において無効審決が下されると、特許権者(A社)は特許法院にその審決取消訴訟を提起し、それと同時に特許審判院に追加の技術構成を導入する訂正審判(特許審判院訂正事件番号:2013チョン48)を請求した。特許審判院は2013年7月1日にその訂正を認める審決をし、訂正は審決と同時に確定した(以下「本件訂正」)。これにより、無効審決取消訴訟を検討した特許法院は、訂正後の請求項を基準に審理して特許審判院の無効審決を取り消し、これは2013年12月27日に確定した。
無効審判請求人(B社)は、この本件訂正が無効であると主張して2014年8月12日に訂正無効審判を請求し、特許審判院はこれを棄却したものの、これに対する不服訴訟において特許法院は、本件訂正が特許請求の範囲を実質的に変更する場合に該当して訂正が不適法であると判断したため、特許権者は、特許法院の判決を不服として大法院に上告した。
発明の概要及び本件訂正
登録特許発明は、橋梁の伸縮継手(expansion joint(注1)) 漏水防止装置に関するもので、スラブ遊間(laying gap(注2)) の側面、下面に固定溝が備えられた固定受け台を埋め込み又は付着させて、伸縮部材を固定台に固定させ、固定溝に挿入してU字状の伸縮部材を設け、上部で発生する伸縮継手の漏水を防止すると共に交換が容易な装置であることを特徴とする。
[請求項1] 橋梁の上部スラブ(8)とスラブ(8)間(遊間)に設けられる伸縮継手装置において、上記それぞれのスラブ(8)の側面には内側に上向傾斜が上部に形成された固定溝(11)を備えた一対の固定受け台(10)が埋め込まれ、上記それぞれの固定溝(11)には固定台(20)が嵌められながら固定され、上記それぞれの固定台(20)には伸縮部材(22)の両端が結合されることにより、上記伸縮部材(22)がスラブ(8)とスラブ(8)間の遊間でU字状に設けられ、漏水が防止されるようにしたことを特徴とする交換用伸縮継手漏水防止装置。
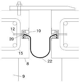
本件訂正は、上記[請求項1]における太字の部分のように、「固定溝(11)」を「内側に上向傾斜が上部に形成された固定溝(11)」に訂正するものである。固定溝の形状やこれによる特別な効果は明細書に明示的に記載されておらず、図面にのみ固定溝の形状が図示されている。
「図3」本発明の正面図

10 固定受け台、12 スタッドボルト、20 固定台、21 ボルト/ナット、22 伸縮部材
「図4」本発明の設置状態

8 スラブ、9 ビーム、10 固定受け台、12 スタッドボルト、15 スラブ鉄筋、22 伸縮部材
判決内容
本件訂正は、特許請求の範囲第1項の「固定溝」を「内側に上向傾斜が上部に形成された固定溝」に訂正するもので、特許請求の範囲の形式的記載は固定溝の形状を具体的に限定したものであって、特許請求の範囲の減縮に該当する。
また、本件特許発明の明細書中の発明の詳細な説明に「橋梁の全ての漏水を完璧に防止」する効果があると記載されており、最も基本的かつ代表的な図面である図3、4には「内側に上向傾斜が上部に形成された固定溝」の形状が描かれている。
本件特許発明の属する技術分野において通常の知識を有する者であれば、上記のような発明の詳細な説明と図面から「スラブ内側の漏水が固定溝内部に流入することを遮断する効果」があることを十分に把握でき、このような効果は、本件訂正で新たに発生した効果であると言い難い。そうであれば、本件訂正前後において発明の目的や効果が変わらず、発明の詳細な説明と図面に記載されている内容をそのまま反映させたものに過ぎず、第三者に不測の損害を与えるおそれがあると言うこともできない。
従って、本件訂正は特許請求の範囲を実質的に変更した場合に該当しない。
専門家からのアドバイス
特許権者は、特許無効主張に対する防御手段の一つとして登録特許請求の範囲を減縮する訂正をすることができるが、この場合、その訂正が特許請求の範囲の減縮であるとしても、訂正によって特許請求の範囲が実質的に拡張、変更される場合に該当するときには許容されない。従来の判例の中には、明細書に明確に記載された技術構成や実施例として例示された技術構成を追加する特許請求の範囲の減縮の場合は特許請求の範囲の変更ではないと判断した事例があったが、これに対し本件は、明細書に関連構成や効果に関する直接的な記述は全くなく専ら図面にのみ図示された構成を特許請求の範囲に追加する訂正を許容したという点において意味がある。ただし、本件において訂正が許容されたのは、発明の詳細な説明と図面から効果が十分に把握され得るという要件を備えていたためであって、図面にのみ図示された構成を特許請求の範囲に追加する訂正が無条件に許容されるわけではないことには留意する必要があろう。
従って、明細書を作成するときに、できるだけ実施態様と各技術構成及びそれによって予想される効果を多様に記載しておくことは、本件のような特許請求の範囲の訂正を容易とするであろう。一方、図面は、明細書と共に出願後の補正や登録後の特許請求の範囲の訂正において特許発明の把握における重要な手段になるので、図面を特許発明の出願目的に合わせて正確かつ詳細に作成しておく必要性があると言えるだろう。
注記
-
伸縮継手(expansion joint)は、大きな建物の温度変化、振動等による障害を避けるために、構造材を分離して施工し、その間をつなぐ伸縮可能な継手を意味する。
-
スラブ遊間(laying gap)とは、橋梁床版のコンクリートスラブが高温で膨張したときの変形を防止するために、コンクリートスラブの所々に一定の間隔を設けたものを言う。
-
本件特許明細書の図7は、判決文中には言及されていないが、説明のため掲載した。
ジェトロ・ソウル事務所知的財産チーム
ジェトロ・ソウル事務所 知的財産チームは、韓国の知的財産に関する各種研究、情報の収集・分析・提供、関係者に対する助言や相談、広報啓発活動、取り締まりの支援などを行っています。各種問い合わせ、相談、訪問をご希望の方はご連絡ください。
担当者:大塚、徐(ソ)、權(クォン)(いずれも日本語可)
E-mail:kos-jetroipr@jetro.go.jp
Tel :+82-2-3210-0195






閉じる